BH-55 User Manual
Below is the user manual for the BH-55 Ball Head. In this manual you willl find information including specs, features, care and operation instructions.

Thank you for choosing a Really Right Stuff BH-55 Ball head. It is the culmination of years of development based on first-hand experience and abundant input from seasoned professionals. Please review this manual to see how you can get the most from your BH-55.
Specifications: BH-55 LR
|
Load capacity |
50 pounds (23kg) |
|
Ball Articulation |
±40-45º, 2x90º |
|
Tension Adjustment |
Independent |
|
Panning Base |
2.5º increments, ±0º-90º-0º |
|
Height (top of clamp jaw) |
3.7” (94mm) |
|
Tripod Mount |
Stainless Steel 3/8”-16 |
|
Base Diameter |
2.86” (72.6mm) |
|
Ball Diameter |
2.165” (55mm) |
|
Weight |
1.9lbs (861g) |
|
Clamp Options |
B2 AS II, B2-40 LR, B2-Pro II, or PCL-1 |

Key Features
1. Pan Lock Knob — Our exclusive drum and band panning brake is locked with one of the industry’s largest pan lock knobs. Crisply knurled for superior lock up, you can easily apply enough clamping force to unscrew the ball head without the pannning base slipping.
2. 55mm Ball — The 55mm ball is hollow for reduced weight, and easily handles heavy loads with ample lock-up. Its shape and finish allow for smooth and precise movement.
3. Drag Set Knob — Use this knob to add tension on the ball and prevent the camera from dropping when the Main Lock Knob is loosened. Control is independent from the Main Lock Knob to ensure logical operation and absolute reliability in the field.
4. Quick-Release Clamps — Really Right Stuff quick-release clamps feature the option of screw-knob or lever-release styles. We offer many sizes, from mini clamps to extra long clamps. Though any of our quick-release clamps may be installed, the B2 AS II and B2-Pro II clamps are the best choices.
5. Main Lock Knob — Our snag-less, large diameter knob is designed for comfort and easy locking of the ball.
6. Dual Drop Notches — Two drop notches are spaced 90° apart, positioned for flexibility when tilting the camera into vertical aspect or at steep downward or upward angles.
7. Aluminum Body — The CNC machined body serves as both the structure and the clamping mechanism of the ballhead. This is furnished by a unique split body design, which is robust, lightweight and sealed to prevent dust contamination. Finished with satin black anodizing, it can withstand abrasion and corrosion while looking beautiful.
8. Engraved Pan Base — The pan base is laser engraved in 2.5º increments from ±0º-90º-0º. Located on the main body just below the drop notch is an index mark for tracking progressive panning, used in multi-shot panoramic photography.
Maintenance
General Care
The BH-55 is finished with a protective anodize plating that protects the aluminum from corrosion and mild abrasion. It will not protect it from scraping against or dropping on rocks/concrete/etc.
The BH-55 comes packed in our protective LB-55 Cordura Pouch. Keep the BH-55 in this pouch whenever practical. When transporting your tripod, cover ballhead with the pouch and tighten the drawstring around the bottom to keep it in place.
Cleaning
Take whatever precautions you can to prevent your BH-55 from getting fouled in mud, dirt, or sand. A good habit is to keep a plastic bag with your camera gear to quickly cover your camera and ballhead if you get caught in a rain/sandstorm. If the BH-55 is fouled, dry dust and dirt can be blown off and/or wiped off with a soft cloth. Mud or salt water should be lightly rinsed off with fresh water and then thoroughly dried. DO NOT submerge the ballhead when washing and do not direct a high-pressure stream of water at the ballhead.
All the knobs are captive, meaning they cannot come off without damaging them so do not attempt to remove the knobs. If fine sand/grit fouls the knob, simply run a gentle stream of water around the knob while rotating it one-half turn back and forth.
Break-In
The ballhead is tuned to maximize holding capacity and deliver super-fast lockup. If you like to work with a fully loose ball with no pre-set tension, the ballhead is ideal for you “out of the box”. However, those who like to operate the ballhead with a given amount of drag may find that articulating a pre-tensioned ballhead is not as silky smooth as desired. Keep in mind, after using the head for a period of time there will be some noticeable softening of the action. Customers have been known to lubricate their ballhead for increased fluidity of motion, however we do not recommend this.
Lubrication not needed
The BH-55 is lubricated at the factory and parts that require lubrication are sealed. NO LUBRICATION IS REQUIRED BY THE USER. Especially DO NOT LUBRICATE THE BALL as this will decrease the lock-up capacity and tend to attract dirt/dust. Just keep the ball free from contamination to maintain smooth action.

Operation
Attach the BH-55 to Tripod
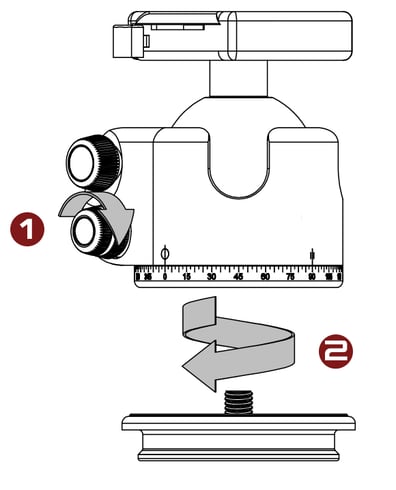
1. Tighten the Pan Lock Knob to lock the Panning Base with light to medium torque.
2. Screw the ballhead onto the 3/8”-16 threaded stud on the top of the tripod (stud should not protrude more than 3/8” above platform or 5-6 threads). Tighten the ballhead onto the tripod snugly, but do not over-torque or it will be difficult to remove.

Set Up Your Tripod
Set up your tripod to match the required camera position.
Orient the Ballhead
Loosen the Pan Lock Knob and rotate the body of the BH-55 ball head as shown, so you may operate the Main Lock Knob with your left hand while your right hand is free to operate the camera controls. This orientation allows you to easily tilt the camera body over from horizontal to vertical using the drop notch.

Adjust the Drag Set
Some photographers prefer to have tension (drag) on the ball at all times to prevent the camera from suddenly flopping when the Main Lock Knob is loosened. The optimal amount of drag depends on the size and shape of equipment being used as well as the angles at which you wish to place the equipment (steeper angles require a higher drag setting).
To set the drag, either remove your camera or hold it in place.
1. Loosen the Main Lock Knob and Drag Set Knob.
2. Tighten the Main Lock Knob to your prefered amount of resistance.
3. Turn the Drag Set Knob until it stops.
Your Drag is now set and will remain at the same resistance until the Drag Set Knob is adjusted again.
Note: It is easy to forget that you set the drag and then try to loosen the Main Lock Knob with no apparent effect on the operation of the ball. If this happens to you, please check the drag setting first and do not over-loosen the Main Lock Knob.
Tighten the Main Lock Knob (optional) and expose the image.
We recommend that you tighten the Main Lock Knob before exposing an image. However, many photographers simply rely on the Drag Setting and do not fully lock the Ball using the Main Lock Knob. This is fine for many situations depending on your equipment and how high the drag setting is. If using a long telephoto at slow shutter speeds, it is best to tighten the Main Lock Knob before exposing your shot. Conversely, you may want to leave the drag setting loose and only use the Main Lock Knob to control both drag and lock. Experiment and see what works best for you.
Using the Drop Notch
1. Loosen the Pan Lock Knob and rotate the body so one drop notch is facing forward.

2. Fully seat camera into the drop notch.

As you adopt a procedure that works for you, it’s best to practice that working mode consistently until it becomes second nature. This will save you time in the field and help avoid costly mistakes. Seasoned pros are able to setup and shoot literally within seconds.